Egzamin: 7 czerwca 2013r. (piątek) godz. 15.00
    lub 8 czerwca 2013r. (sobota) godz. 9.00

 Przebieg egzaminu sprawnościowego dla kandydatów do Technikum Logistycznego
 o profilach: bezpieczeństwo narodowe, bezpieczeństwo publiczne, BEZPIECZEŃSTWO POŻAROWE

 

1. Indywidualna rozgrzewka kandydatów.

2. Prezentacja przebiegu toru przeszkód zdającym przez ucznia ZSP i omówienie go przez przedstawiciela komisji egzaminacyjnej.

3. Próbne pokonanie toru przeszkód przez kandydatów. W trakcie próby członkowie komisji będą korygować ewentualne błędy zdającego.

4. Samodzielne pokonanie toru sprawnościowego na czas przez kandydatów.

 

Przyjęte zostaną osoby, które prawidłowo pokonają tor przeszkód i uzyskają czasy:

- dziewczęta mniej niż 1,28 minuty

- chłopcy mniej niż 1,12 minuty

 

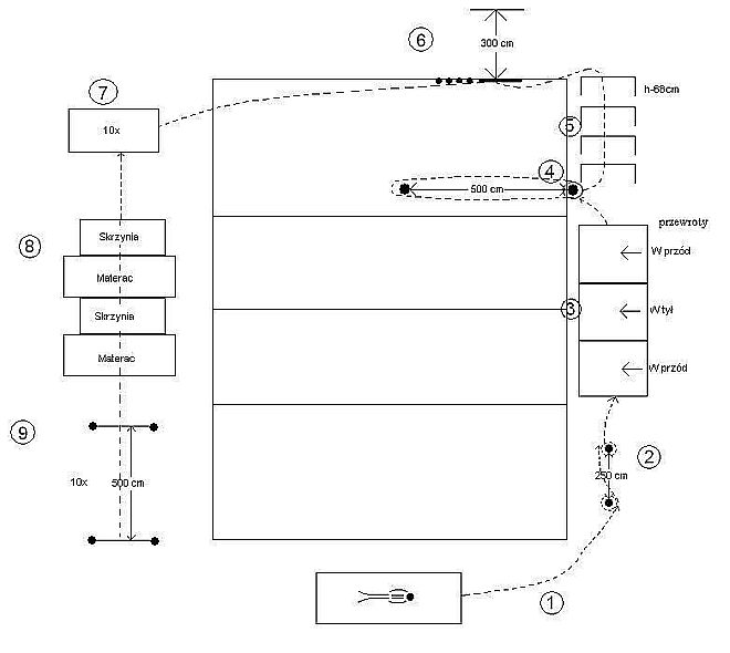
Proponowany tor sprawnościowy dla dziewcząt i chłopców:
 

 

Opis prób:

 

  1. Rozpoczęcie próby- leżenie przodem na materacu, ręce wzdłuż tułowia, na sygnał przejście do biegu.
  2. Obiegnięcie pachołków według schematu, dobiegnięcie do stanowiska numer 3.
  3. Wykonanie na materacach poprawnego przewrotu w przód, obrót ciała o 1800- wykonanie przewrotu w tył, obrót ciała o 1800 –wykonanie przewrotu w przód, dobiegnięcie do stanowiska numer 4.
  4. Podniesienie piłki lekarskiej o wadze 5 kg i ominięcie z nim pachołka, odłożenie piłki na to samo miejsce, bieg do stanowiska numer 5.
  5. Pokonanie dowolnym sposobem czterech płotków, tak by każda część ciała była przeniesiona nad nim (przewrócenie płotka powoduje przerwanie próby i rozpoczęcie jej od nowa po wszystkich kandydatach) dobiegnięcie do stanowiska numer 6.
  6. Rzut trzema piłkami lekarskimi (każda o wadze 3kg) znad głowy na odległość trzech metrów. Przekroczenie linii stopą lub nie przekroczenie piłki linii końcowej karane jest dodatkowym rzutem. Po ukończeniu rzutu bieg do stanowiska numer 7.
  7. Leżenie tyłem na materacu nogi ugięte w kolanach ręce za głową. Dziesięć skłonów tułowia w przód do momentu dotknięcia łokciami kolan (brzuszki).

Liczone są tylko prawidłowe skłony. Bieg do stanowiska numer 8.

  1. Pokonanie skrzyni (5 części) dowolnym sposobem, tak by każda część ciała była przeniesiona ponad skrzynią. Bieg do stanowiska numer 9.
  2. Bieg wahadłowy 10 razy na odcinku 5 metrów, tak, aby stopy przekraczały za każdym razem linię początkową i końcową.
  3. Podanie czasu pokonanie toru sprawnościowego przez członka komisji.